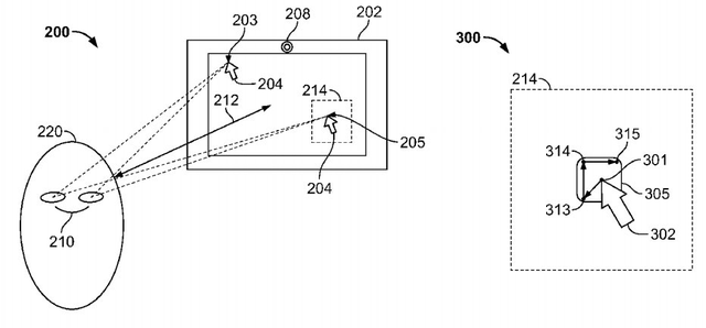
苹果周二获得了一项眼球追踪技术的专利,可能会将其应用于未来的iOS设备、Mac电脑,甚至是Apple TV产品。这项专利详细介绍了一种能够积极追踪用户眼球的图形用户界面,可以让用户通过眼神控制屏幕上的输入或鼠标指针。
不过这项专利的主要意图是防止出现一种常见的眼球追踪问题,即“特克斯勒消逝效应”(Troxler Effect),它指的是当用户凝视屏幕上原本固定的物体时,会产生这个物体正在慢慢消逝的错觉。
要解决这个潜在的问题,苹果的最新专利提出了检测眼球运动、眨眼,以及测试身体与屏幕距离等多种方法。这些方法共同作用,有助于在这种图形用户界面下,防止固定的物体渐渐消逝。
在这项专利中,苹果提出了将眼球追踪技术应用于iOS设备和Mac电脑的可能性,同时可以想象它可能会应用到未来的Apple TV设备。但是要知道,苹果和不少科技公司都拥有大量的专利技术,但有些技术从来没有应用到消费设备上,所以先不要对眼球追踪版iPhone抱太大希望。
|